新闻动态

  • 导电塑料角位移传感器

    导电塑料角位移传感器是一种以电压输出与轴旋转角度为线性关系的位移量传感器。其特点是精度高、寿命长、输出平滑性好。角位移传感器结构主要由导电塑料基体、电刷、随动轴、壳体等组成。角位移传感器有单联、双联多联等几种。其电信号引出一般均采用接线柱形式。 角位移传感器是指感受被测角度的传感器。当连结到RCX上时,轴每转过1/16圈,就会计数一次。往一个方向转动时,计数增加,转动方向改变时,计数减少。

    2024-07-26 乐投体育在线注册,乐投体育(中国)

  • 锅炉主给水再循环阀门(省煤器再循环阀门)报故障

    省煤器再循环的原理 省煤器再循环是指在锅炉烟气通过省煤器冷却后,将其余热再次回收利用的过程。具体原理为:将锅炉排出的高温烟气导入省煤器进行冷却,使烟气中高温余热被吸收。然后,将冷却后的烟气再导入锅炉进行再循环利用,以达到节能减排的目的。

    2024-07-26 乐投体育在线注册,乐投体育(中国)

  • 汽包电容液位计故障

    电容式液位计是基于电容感应原理的液位计,将液位变化转换成电容量,再转换成标准电流信号,远传至操作控制室供二次仪表或计算机装置进行集中显示、报警或自动控制。电容式液位计具有结构简单、维护量少、多种信号输出、安全可靠等诸多优点,不过它也存在不能实施全工况测量、测量时滞较长等缺点。

    2024-07-26 乐投体育在线注册,乐投体育(中国)

  • 高加外置式蒸汽冷却器

    回热循环及蒸汽冷却器 回热循环被现代蒸汽动力工程所普遍采用,是在朗肯循环的基础上,对吸热过程加以改进而得到的。 在朗肯循环中,新蒸汽的热量在汽轮机中转变为功的部分只占30%左右,而其余70%左右的热量随乏汽进入凝汽器,在凝结过程中被循环水带走了。 另外,进入锅炉的给水温度是凝汽器工作压力下的饱和温度。因为凝汽器内饱和温度很低,在锅炉内将给水加热到过热蒸汽的整个过程,吸热平均温度不高,致使朗肯循环热效率也较低。为了提高工质的平均吸热温度,减少凝汽器中被冷却水所带走的热量,人们采用了利用抽汽加热给水的热力循环——回热循环。采用回热可提高平均加热温度,从而提高装置的热效率。

    2024-07-24 乐投体育在线注册,乐投体育(中国)

  • 浆液循环泵频繁启停的危害有哪些

    浆液循环泵是湿法脱硫吸收塔重要设备,负责为喷淋层提供源源不断的新鲜的石灰石浆液,完美、高效吸收烟气中的SO2,运行中经常遇到浆液循环泵电流及出口压力降低的现象,一般认为进口滤网有异物堵塞,人们经常采用停泵反冲法冲走滤网,来保持浆液循环泵正常出力,但有一定的危害

    2024-07-24 乐投体育在线注册,乐投体育(中国)

  • 电接点水位计显示面板不准

    由于水和汽的导电性能差别极大,以发电厂锅炉汽包为例,一般水阻在几十KΩ,汽阻在1MΩ以上,测量筒的作用就是将水位的高低通过电接点阻值的变化,转换为电信号送至二次仪表进行运算和逻辑判断,最后以发光二极管和数码管准确显示水位值。

    2024-07-23 乐投体育在线注册,乐投体育(中国)

  • 启动油和速关油的油路如何动作?【速关电磁阀】

    先了解电磁阀的结构和油路,电磁阀看懂了,整个油路的动作过程也就都明白了

    2024-07-22 乐投体育在线注册,乐投体育(中国)

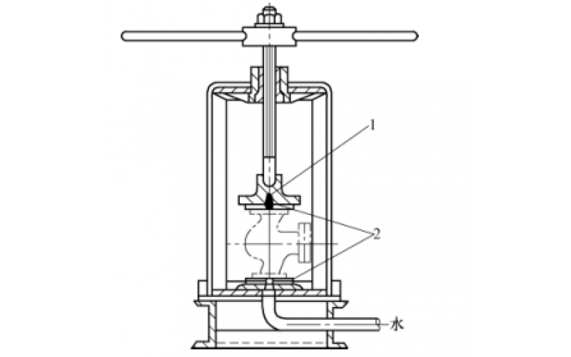
  • 阀门怎样进行强度试验和严密性试验?

    阀门的强度试验和严密性试验一般在如图1所示的阀门水压试验台上进行。

    2024-07-19 乐投体育在线注册,乐投体育(中国)

首页
产品
新闻
联系